Parallelforbinder til Ex-områder, zone 1/21, 2/22

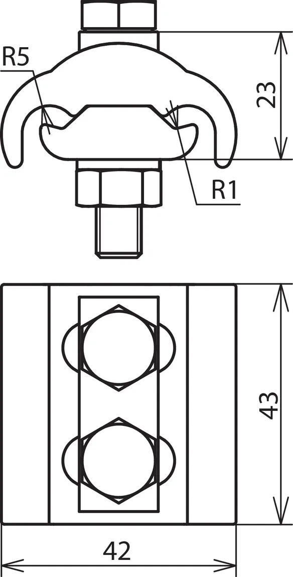
Parallelforbinder med fjederring til forbindelse af runde ledere/kabler i Ex-områder, zone 1/21, 2/22. Klemmerne er efter DIN EN 62305-3, supplement 2, sikrede imod at løsne sig.

For ens og forskellige kabeldiametre, lille

1 produkt

artikelnr. 306105 PV 5.12.5 SKM8X45 GSG CUGALSN

GTIN 4013364269125, CCT (EU): 85369095, Bruttovægt: 250.00 g, VPE: 1.00 Pakkestørrelse


billeder

Yderligere information

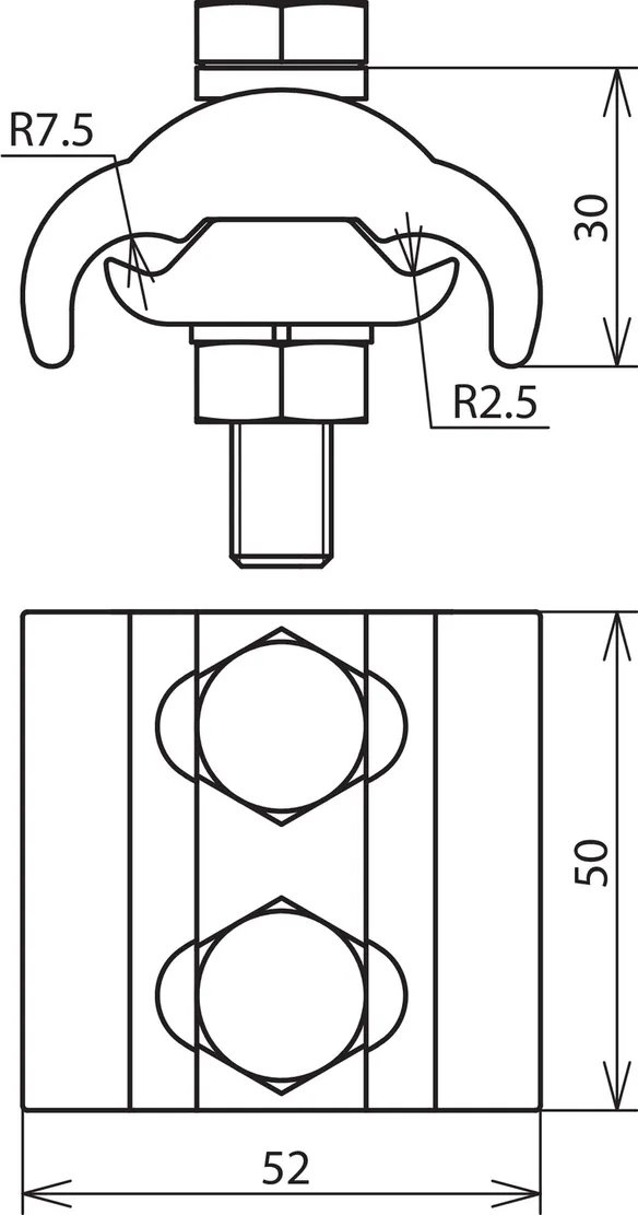
Parallelforbinder til forskellige kabeldiameter lille Cu/gal Sn
Parallelforbinder til oprettelse af et potentialudligningssystem i eksplosionsfarlig atmosfære. Gnistfrit testet til indsats i eksplosionsfarlige områder Ex-zone 1 og 2 (gasser i eksplosionsgruppe IIC) samt Ex-zone 21 og 22 (støv). Lille udgave, til forskellige kabeldiametre, sikret mod, at boltene løsner sig med fjederring samt to skruer iht. DIN EN 62305-3 tillæg 2.
Materiale (klemme): Cu/gal Sn
Klemmeområde (rund / rund): 5-12,5 mm
Klemmeområde (flertrådet / leder): 16-95 mm2
Standard: i overensstemmelse med DIN EN 62561-1

fabrikat: DEHN
Type: PV 5.12.5 SKM8X45 GSG CUGALSN
artikelnr.: 306105
eller tilsvarende

Certificater

 

Tekniske data

Materiale (klemme) Cu /gal Sn
Klemmeområde (rund / rund) 5-12,5 mm
Klemmeområde (flertrådet / leder) 16-95 mm2
Lynstødstrøm (10/350 μs) gnistfri 25 kA
Kortslutningsstrøm (50 Hz) (0,1 s) gnistfri 1,65 kA
Standard i overensstemmelse med DIN EN 62561-1
*) Se den præcise tildeling på testcertifikatet.

Produkt 306105 blev tilføjet til notesblok.

Produkt 306105 blev lagt I kurven.


For ens og forskellige kabeldiametre, stor

1 produkt

artikelnr. 306106 PV 5.16 SKM10X50 GSG CUGALSN

GTIN 4013364269149, CCT (EU): 85369095, Bruttovægt: 424.40 g, VPE: 1.00 Pakkestørrelse


billeder

Yderligere information

Parallelforbinder til forskellige Kabeldiameter stor Cu/gal Sn
Parallelforbinder til oprettelse af et potentialudligningssystem i eksplosionsfarlig atmosfære. Gnistfrit testet til indsats i eksplosionsfarlige områder Ex-zone 1 og 2 (gasser i eksplosionsgruppe IIC) samt Ex-zone 21 og 22 (støv). Stor udgave, til forskellige kabeldiametre, sikret mod, at boltene løsner sig med fjederring samt to skruer iht. DIN EN 62305-3 tillæg 2.
Materiale (klemme): Cu/gal Sn
Klemmeområde (rund / rund): 5-16 mm
Klemmeområde (flertrådet / leder): 16-150 mm2
Standard: EN 62561-1

fabrikat: DEHN
Type: PV 5.16 SKM10X50 GSG CUGALSN
artikelnr.: 306106
eller tilsvarende

Certificater

 

Tekniske data

Materiale (klemme) Cu /gal Sn
Klemmeområde (rund / rund) 5-16 mm
Klemmeområde (flertrådet / leder) 16-150 mm2
Lynstødstrøm (10/350 μs) gnistfri 25 kA
Kortslutningsstrøm (50 Hz) (0,1 s) gnistfri 1,65 kA
Standard EN 62561-1
*) Se den præcise tildeling på testcertifikatet.

Produkt 306106 blev tilføjet til notesblok.

Produkt 306106 blev lagt I kurven.


back to top